
参考标准:
注: 关于产品购买、技术维护等服务,欢迎致电! 联系我们
一、基本原理:
根据国家标准《GB311-64》和原水电部发布的《电气设备预防性试验规程》,为满足电力系统对高压电压互感器、倍频感应耐压试验设备的要求而设计的,广泛用于电力系统35-220KV等级电压互感器的交流耐压试验,以考核互感器的主纵绝缘强度,同时也可对电机及变压器的绕组进行感应耐压试验,也可作短时运行的150HZ电源用。
三倍频电源发生装置是利用磁路的饱和特性,取出谐波中分量最大的三次谐波电压,作为发生器的电源,对感应线圈式的电气产品作匝间、段间、层间的倍频、倍压试验;以考核线圈的绝缘强度、耐压水平。
二、产品机构
由三相五柱变压器(或三台单相变压器)、单相调压器、电抗器及控制部分组成。根据用户要求,外形可为整体式,也可为分体推移式。
三、用途
1.广泛用于对电压互感器作倍频感应耐压试验;
2.对电力变压器进行分相的倍频感应耐压试验;
3.对其它感应线圈式的电气产品作倍频感应耐压试验。
四、技术参数
输入电压:三相380V 50HZ
输出电压:单相300V、500V、800V、1000V 单相 150HZ
(如需更高电压则需外接升压变压器)
输出容量:产品容量的20%
谐波失真:<5%-8%
空载运行时间:≤5分钟
额定电压下的被试品持续时间:40秒
五、使用说明
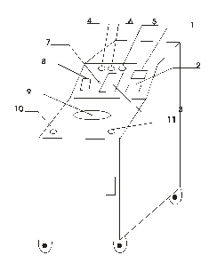
(一)外形示意图


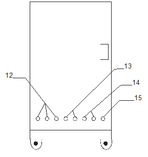
(二)背面图
(三)操作步骤
1.空载试验
将三相380V电源直接接在装置背面的“A、B、C”输入端子。合上右侧总开关,将调压器逆时针回至零位,电源指示灯(绿灯)亮;按下绿色按钮,接触器合上,工作指示灯(红灯)亮;
顺时针均匀旋转调压器手柄,并密切注视输出电压表,当升到所需电压值时,打开计时开关,(时间继电器按试验要求设定为40秒),开始计时。
试验时间40秒到达后,计时报警,这时应立即逆时针旋转调压器手柄至零位;按下红色停止按钮,接触器断电,工作指示灯灭,绿色信号灯亮,切断右侧总电源开关,空载试验完毕。
2.负载试验
将三相380V 电源直接接在装置背面输入端子(A、B、C),将被试品的两端分别与输出端子(a、x)相连接;并接好接地线;
接通电源,将调压器手柄回至零位处,电源指示灯(绿灯)亮;按下绿色按钮,接触器合上,工作指示灯(红灯)亮;
顺时针均匀旋转调压器手柄,并密切注视输出电压表及输出电流表,当升到所需电压值时,打开计时开关(时间继电器按试验要求设定为40秒),开始耐压计时。
当 40秒到达后,计时报警,同时反向旋转调压器手柄至零位;按下红色停止按钮,接触器断电,工作指示灯灭,绿色信号灯亮,切断右侧总开关,负载试验完毕。
六、试验注意事项
1.装置设有过流保护,出厂时按额定输出电流的80%整定好,用于小负载时,应根据负载实际情况重新整定;当升压过程中出现过流或击穿现象时,过流保护动作,可保护被试品,不致使被试品的事故扩大,此时也应立切断输入三相电源,避免装置受到损坏。
2.在试验过程中,如被试品的电容量不大时,补偿电抗器一般不需接入线路。如被试品电容电流过大时,则应将补偿电抗器两端与被试品两端并联(或者另外一绕组),进行电流补偿,从而提高整个试验回路的功率因数,降低输出电流。
3.三倍频发生装置是在超饱和状态下工作,因而接入三相线路的时间应尽量短,一般不超过五分钟。试验被试品时,试验频率为150Hz时试验时间不能超过40秒;
4.三倍频发生装置所配电抗器只允许在试验电压互感器时配套使用,当被试品的电压超过一定范围时,应另选配电抗器(可在订货时加以说明)。
附注:
1、如果用本装置做电力变压器(35KV/400V,10KV/400V)的感应试验,须加升压变压器。
2、针对不同的电压等级PT(电压互感器)的加压值如下:
例:110KV电压互感器(JCC-110KV)
200KV
———— ×100/
= 181.7V
110/ ![]()
35KV电压互感器(JDZ-35)
85KV
———— ×100/
= 243V
35/
10KV电压互感器(JDZ-10)
42KV
———— ×100/
= 420V
10/ ![]()
3、此说明书为通用版三倍频的简要说明,需要时可根据用户要求设计制造,其说明书以随设备的说明书为准!
4、本产品符合中华人民共和国电力行业标准DL/T848.4—2004《高压试验装置通用技术条件:三倍频试验变压器装置》
七、使用条件
1.海拔高度:≤1000米;
2.环境温度:-10℃- +40℃;
3.相对湿度:<95%;
4.使用场地:无蒸汽、腐蚀性气体及易燃易爆性介质。
八、产品成套性
1. 三倍频电源发生装置 1套
2. 配套连接线 1套
3. 出厂试验报告 1份
4. 产品说明书 1本
5. 产品合格证/保修卡 1份
九、售后服务
本公司产品保修一年,终身维修,一年内产品质量出现问题,请及时与我公司联系,公司负责免费维修,超过一年,按成本收取少量费用。