
参考标准:
注: 关于产品购买、技术维护等服务,欢迎致电! 联系我们
一、概述
试验变压器是电力设备检测及预防性试验所必备的试验设备。随着我国电力工业的发展,对试验变压器的电压等级要求也越来越高,而传统的油浸式试验变压器,无论在体积上和重量上还是在性能上都越来越不能满足现场工作的要求。
随着我国基础科学研究的进步,新材料、新工艺的应用,把新的介质六氟化硫气体推向了电力设备的应用领域。由于六氟化硫气体优良的绝缘性能和灭弧性能及不燃性,使得它作为新的绝缘介质得到广泛的应用。特别在无局放试验电源上,SF6气体是最佳的绝缘介质。
我公司经过多年的努力,研究成功了充气式轻型试验变压器,本系列产品与传统的油浸式轻型试验变压器相比,重量上减轻了20%-60%(视电压及容量等级而定),而且无油污染,单台试验变压器的电压等级可达300KV。由于采用了新的生产工艺,产品的技术性能有较大的提高,特别适用于现场工作及频繁移动的工作条件下使用。
二、结构
1、YDQ系列产品其设计构思、材质选择及工艺流程都是全新的,因此不仅体积小、重量轻、外形美,而且各项技术指标都达到了<<JB3570-98>>标准要求。
YDQ系列产品采用优质冷轧30Q-130取向硅钢片叠成多级圆柱框形铁芯,在特制的高强度绝缘筒上用QZ型导线直接连续绕制高压塔式线圈。外壳是圆柱形,内充入SF6气体。
2、YDQ(JZ)产品与YD产品的不同在于巧妙地将高压整流硅堆装在高压套管之内通过短路杆的插入和抽出可变换YDQ是工频高压交流输出还是高压直流输出。
3、YDQ(C)产品与YDQ产品的不同在于套管内结构。
4、YDQ(W)产品是在普通变压器的基础上加上特殊的电气结构及精细的制作工艺,使得此型号变压器局部放电量很小(≤5PC),有利于局放仪在高电压状态下判别其它电气设备(GIS、CVT、电缆附件、主变、互感器等)的局放量。
三、型号含义

四、工作原理
把电源输入有过流自动脱扣及防止突发加压的零位连锁装置的操作台(箱),经自耦调压器调节电压输入YDQ试验变压器初级绕组,根据电磁感应原理,在次级(高压)绕组按其与初级绕组匝数之比可获得同等倍数的电压幅值----工频高压。此工频高压经高压硅堆整流及稳压电容器滤波可取得直流高压,其幅值是工频高压有效值的倍。
五、试验现场布置
1、交流耐压试验接线图

2、直流泄漏接线试验图:
3、串激组合试验接图
YDQ(C)—Ⅰ—第一组试变; YDQ(C)—Ⅱ—第二组试变
YDQ—Ⅲ—第三组试变; △—绝缘支架
注:高压输出串激线与与仪表及高压尾应可靠相连,否则易击穿变压器。接线前请校极性。
② 概述
为了方便电力系统的现场等级的试验,我们专门设计和生产用多台轻型试验变压器串激组合YDQ(C)系列试验设备。由于分散组合能力方便使用,故可适应现场多种需要。每个单元重量轻,运输和移动方便,使现场能顺利取得较高的试验电源。
③ 工作原理
YDQ(C)系列高压试验装置,除最高电压一级外,都在高压绕组中串绕激磁组。该绕组和后一级试验变压器初级线圈参数相同。
由控制台(箱)供给第Ⅰ级试验变压器绕组电源。第Ⅰ级高压绕组尾端和外壳接地,首端和第Ⅱ级试验变压器高压尾及外壳连接。由第Ⅰ级串激抽头供给第Ⅱ级低压绕组的励磁电源,此时Ⅱ级试验变压器输出为第Ⅰ级和第Ⅱ级输出叠加。同理,可叠加第Ⅲ级。
4、无局放试验
接线图参考局部放电检测仪接线(如下),升压使用与变通交流耐压试验操作方法同。
CK:耦合电容器 C~:被试品
补充说明:
1、K1、K2为试变的低压输入端子,与控制部分的输出端子相互连接;
2、K3、K4为试变的测量(仪表)端子,与控制部分的仪表端子相互连接;
3、K5为试变的高压尾,与试变的接地端及控制部分的接地端相互连接。
4、若需分压器、微安表和放电球隙、限流电阻等附件请另行订购 。
5、变压器器身、控制部分、高压尾、仪表要良好接地,否则会造成设备的损坏并危及生命安全。
6、微安表都是正极接被试品,负极接限流电阻。
7、试验做完后,一定要用放电棒放电,以免残余电荷危及生命。
六、操作试验方法
1. 按上图接线,检查压力表指示内部气体压力是否正常(≥0.2MPA);
2. 限流电阻配置:工频耐压每伏0.3~1Ω;直流每伏5~10Ω,一般试验可不用。
3. 做直流试验时,将外接硅堆接在变压器输出端,硅堆输出即为半波直流。电压幅值为交流电压的倍。
4. 拆除被告试品线引线,套管及器身脏污请除,必要时采用屏蔽措施。
5. 准备工作和安全措施就绪,空试一次设备。
6. 接上被试品,直流试验应用屏蔽线,以消除杂散泄漏。
7. 合上电源,控制台(箱)电源指示灯、零位指示灯亮,。
8. 按下启动按钮,工作指示灯亮。
9. 顺时针均匀缓慢旋转调压器手轮,注视电压表读数,当升到额定电压值时应停止旋转调压器手轮。
10. 密切注视电流表指示以及耐压时间。
11. 耐压时间到时,应迅速逆时针均匀旋转调压器手轮,直到调压器回至零位。
12. 做图2试验后用放电棒经电阻放电后,然后直接接地放电。
13. 高压部分可能被充电部位一一放电后,改变或拆除高压引线及一切引线。
14. 试验完毕。
八、注意事项
1. 试验设备的布置,对人身周围要有足够的安全距离。尽量避免在人员过道上布置设备及高压引线。
2. 试验现场安装围栏、悬挂“止步、高压危险”标示牌。
3. 试验中高压引线要有支撑或牵引绝缘物。要有安全监护员,防止有人靠近或从底下穿过。
4. 直流高压试验中微安表最好在高位时,除有屏蔽盒外有过流自动保护装置以防止突发性击穿短路或放电时表烧坏。
5. 工频耐压试验,注意验算设备容量是否足够,并应避免产生谐振。
6. 工作地线(高压尾、稳压电容末端接地线)与保护地线(操作部分外壳)应分开连接,并有良好的接地性能。
7. 试验中如有电源不规则摆动(如电焊)必然影响高压输出稳定,此时应停止试验查找原因,并排除。
8. 试验工作对气候(温度、湿度)的要求应符合试验规程要求,并作记录。
9. 高压测试工作要严格执行能源部颁发的安全工作规程有关规定。
九、维护及保养
1. 应经常性地保持试验变压器的清洁,每次试验前应把尼龙套管擦拭干净,并用塑料布罩住。
2. 不应随意扭动除接线支柱以外的螺栓,防止因密封破坏造成的漏气现象。
3. 轻微的泄漏是属于正常的现象,估计约每4年气压降低0.05Mpa,出厂时气压的在0.2-0.4Mpa之间。随着环境湿度的变化气压略有增减。当气压降至0.1Mpa时应及时补气。
4. 补气进请采用六氟化硫气体,充气的压力不得大于0.4Mpa。一般情况下0.2-0.3Mpa即可。
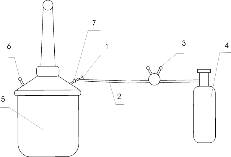
5. 充气方式:
1充气阀 2氧气管道 3氧气表 4六氟化硫钢瓶
5变压器 6压力表 7变压器充气嘴
① 按示意图接好管道。
② 打开六氟化硫气瓶上的阀门,使氧气表上压在20kg/cm左右。
③ 旋入氧气表上的螺旋顶尖,让气压慢慢升高。此时有气体外溢。排出管道内的空气。
④ 立即旋开充气阀(顺时针方向)并听到气流流入变压器本体内。
⑤ 调节氧气表上的螺顶尖,使氧气表的出口压力在5.5Kg/cm 。
⑥ 监视变压器压力表,当压力达到2.5—3.5Kg/ cmj时(即0.25-0.35Mpa),立即关死充气阀(逆时针方向)。绝对禁止超压以免发生危险。
⑦ 关闭六氟化硫气瓶上阀门。
⑧ 关闭氧气表上的阀门,充气工作结束。
⑨ 拆下管道和充气阀门,充好气后静止5分钟,让气体充分混合即可工作。
十、试验变压器的使用条件
1、试验变压器额定使用条件下应满足下列要求
1.1周围环境温度:-20℃~+40℃。
1.2空气最大相对温度,当空气温度为25℃时,相对湿度不超过85%。
1.3安装地点无严重影响变压器绝缘的气体、蒸气、化学性积尘,污垢及其它爆炸性介质的场所。
1.4试验变压器使用时应使其输入电压逐步升高且应在输出端串入足够的保护电阻,切忌高压状态下断合设备。
2、变压器允许运行时间
在额定容量的额定电压下,连续运行不得超过半小时,每次工作时间间隔为工作时间的5-10倍,以保证变压器的充分散热,在额定电压和额定电流的三分之二的情况条件下允许长期连续运行。
十一、运输、贮存
■运输
设备需要运输时,建议使用本公司仪器包装木箱和减震物品,以免在运输途中造成不必要的损坏,给您造成不必要的损失。
本产品运输途中不得重击、重压,不可倾斜、倒置。
■贮存
设备应放置在干燥无尘、通风无腐蚀性气体、无阳光直射的室内。设备贮存时,不得重击、重压,不可倾斜、倒置。并在设备的底部垫防潮物品,防止设备受潮。
十二、开箱及检查
■开箱注意事项
开箱前请确定设备外包装上的箭头标志应朝上。开箱时请注意不要用力敲打,以免损坏设备。开箱取出设备,并保留设备外包装和减震物品,既方便了您今后在运输和贮存时使用,又起到了环保节能的作用。
■检查内容
开箱后取出设备,依照装箱单清点设备和配件。如发现短少,请立即与本公司联系,我公司将及时为您提供服务。
十三、产品清单
1. 充气变压器 1台
2. 产品说明书 1份
3. 出厂试验报告 1份
4. 产品合格证保修卡 1份
十四、售后服务
本公司产品保修一年,终身维修,一年内产品质量出现问题,请及时与我公司联系,公司负责免费维修,超过一年,按成本收取少量费用。
YDQW系列高压试验变压器额定参数:
容量 KVA | 低压侧 | 高压侧 | 测量变比 | 60分钟温升℃ | 阻抗 电压 % | 空载电流 % | 质量 kg | 外形尺寸 | ||
电压 V | 电流 A | 电压KV | 电流 mA | |||||||
3 | 200 | 15 | 50 | 60 | 500 | 50 | 10 | <4 | 32 | 280×600 |
6 | 200 | 30 | 50 | 120 | 500 | 50 | 10 | <4 | 38 | 320×610 |
10 | 200 | 50 | 50 | 200 | 500 | 50 | 10 | <4 | 53 | 350×620 |
15 | 400 | 37.5 | 50 | 300 | 500 | 50 | 8 | <4 | 70 | 380×630 |
20 | 400 | 50 | 50 | 400 | 500 | 50 | 8 | <4 | 85 | 440×650 |
30 | 400 | 75 | 50 | 600 | 500 | 50 | 8 | <4 | 100 | 480×650 |
50 | 400 | 125 | 50 | 1000 | 500 | 50 | 8 | <4 | 120 | 520×650 |
10 | 200 | 50 | 100 | 100 | 1000 | 50 | 10 | <4 | 65 | 380×1000 |
15 | 400 | 37.5 | 100 | 150 | 1000 | 50 | 8 | <4 | 85 | 410×1100 |
20 | 400 | 50 | 100 | 200 | 1000 | 50 | 8 | <4 | 100 | 460×1100 |
30 | 400 | 75 | 100 | 300 | 1000 | 50 | 8 | <4 | 110 | 510×1100 |
50 | 400 | 125 | 100 | 500 | 1000 | 50 | 8 | <4 | 125 | 600×1210 |
10 | 200 | 50 | 100 | 66.7 | 1500 | 50 | 10 | <4 | 90 | 480×1550 |
15 | 400 | 37.5 | 150 | 100 | 1500 | 50 | 8 | <4 | 100 | 510×1600 |
30 | 400 | 50 | 150 | 133.3 | 1500 | 50 | 8 | <4 | 110 | 540×1600 |
30 | 400 | 75 | 150 | 200 | 1500 | 50 | 8 | <4 | 125 | 560×1600 |
50 | 400 | 125 | 150 | 333.3 | 1500 | 50 | 8 | <4 | 140 | 640×1650 |
注:容量50KVA以上试验变压器参数略,对各电压等级变压器的空载电流4~9% ,阻抗电压4~10%